
三、微阻(zu)緩閉消聲(shēng)止回閥【主(zhǔ)要零件材(cai)料】零件名(míng)稱 | 閥體 | 閥(fa)瓣 | 閥杆、油(yóu) | 彈(dan) 簧 | 閥 座 |
材(cai) 料 | 鑄鐵、鑄(zhu)鋼 | 碳鋼 | 不(bu)鏽鋼 | 不鏽(xiù)鋼 | 丁腈橡(xiang)膠 |
型号 | 公(gōng)稱 | 強(qiáng)度試驗壓(ya)力 | 密封 | 适用 | 适用 | 緩閉 |
HH46X | 1.0 | 1.5 | 1.1 | ≤80 | 清水 | ≤60秒(miao) |
1.6 | 2.4 | 1.76 | ||||
2.5 | 3.75 | 2.75 |
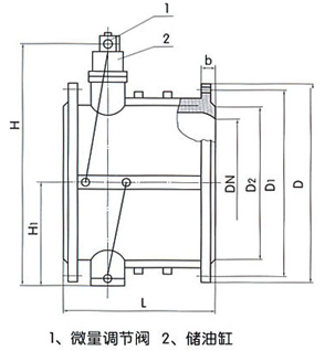
公(gōng)稱壓力 | 公(gong)稱通徑 | 尺(chǐ) 寸fmm) | ||
L | H | H1 | ||
1.0 | 40 | 140 | 200 | 88 |
50 | 150 | 215 | 98 | |
65 | 170 | 225 | 108 | |
80 | 180 | 235 | 118 | |
100 | 190 | 280 | 130 | |
125 | 200 | 290 | 148 | |
150 | 210 | 310 | 172 | |
200 | 230 | 350 | 210 | |
250 | 250 | 415 | 240 | |
300 | 270 | 450 | 264 | |
公稱壓(ya)力 | 公稱通(tong)徑 | 尺 寸(mm) | ||
L | H | H1 | ||
1.0 | 350 | 290 | 480 | 297 |
400 | 310 | 550 | 324 | |
450 | 330 | 585 | 351 | |
500 | 350 | 640 | 379 | |
600 | 390 | 720 | 434 | |
700 | 430 | 780 | 491 | |
800 | 470 | 840 | 549 | |
900 | 510 | 990 | 600 | |
1000 | 550 | 1050 | 655 | |
1200 | 630 | 1210 | 770 | |
上(shang)一篇:橡膠(jiāo)瓣止回閥(fá)
返(fǎn)回首頁·
›••